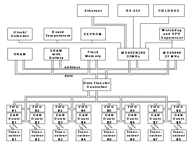
BI-0501

Eight Channel CAN Interface to the World


[BI-0501 Block diagram]

For more information about the BI-0501, please contact info@brandinnovators.com.


[Back] [Photo] [Manual PDF]


[Home]


Copyright © 1997 Brand Innovators B.V.
Last update Mon May 26 11:43:08 MET DST 1997
For comments and questions, please contact webmaster@brandinnovators.com